Search results for: 'dorma slidind door case door minim von'
-
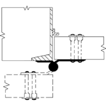
Von Duprin 050536 HD-EL Solenoid
Von Duprin 050536 HD-EL Solenoid
Electric Latch Retraction for Von Duprin Exit Devices with Hex Key Dogging. #4 on the diagram below large picture.
Von Duprin part # 050536
Old Part # was 110740No longer available, the only solution we have at this time is to upgrade to the HD-QEL Base Plate.
G050536 -
Finger Protector For Doors - Interior Push Side
Door Finger Protector - Interior Push Side
These patented door guards fold against the jamb, allowing them to swing completely 180 degrees. The guard is attached to the face of the door and frame with the provided strong adhesive tape. Clear-frosted color to compliment any color scheme. Finger-Gard for use on Interior Doors, on the push side. Available in 54" or 78" lengths
GFG-A -
Corbin Door Closer 100/110/120
The Corbin 100, 110 and 120 Door Closer are no longer available. They have been replaced by the DC6210, which has the same hole spacings and arm. You will not have to redrill or modify your door to make the DC6210 work in place of your existing 100, 110 or 120 door closers. The DC6210 has a little bit larger body due to the increased functionality of this closer. This new closer will meet all the ADA requirements.
Corbin Russwin’s history combines high-quality product and innovative design. That tradition continues with the new Grade 1 DC6000 Series door closer, designed and engineered with quality features such as captured valves and a complete range of new arms. The DC6000 series is the perfect closer for high-use openings or openings that must meet ADA requirements, such as schools, office buildings, health care facilities, and retail complexes. The series also meets UL and UL10C positive pressure requirements for fire openings.
Uses the same mounting bracket as the 100, and 2800 series.Older models may have SL72 or MS93 cast on the cylinders. You may also find Clarksdale, MS cast on the cylinder also.
DC6210b -
BB83 Full Surface 4-1/2" Door Hinge-3 per box
The BB83 Full Surface 4-1/2” Door Hinge is a specialty hinge. The hinge fastens to the face of the door and the face or the door frame. These are five knuckle, two bearing with square edges. They are constructed of 10 gauge (.134”) steel that is then plated to the desired finish. We ship in boxes of 3 hinges with the wood and machine screw.
G80045- -
International Door Closer 5001P Series Adjustable Spring Power
The International Door Closer 5001P Series Adjustable Spring Power is a great closer to use as a replacement for the many 3/4" by 12" mounting holed closers. This door closer is fully adjustable with sweep, latching and back check adjustments, a long with an adjustable spring tensoin control. This closer can be adjusted to less then 8-1/2" pounds of resistance to meet ADA standards. You can install this closer on the push, pull or top jamb, we ship the regular arm and a parallel arm bracket. This closer has the same mounting holes as the Norton 8000 and Yale 3000 door closers.
Hole spacing 3/4" x 12"
5001- -
Detex EAX-500 Battery Powered Door Exit Alarm
Detex EAX-500 Battery Powered Door Exit Alarm
The Detex EAX-500 Series is designed for applications requiring a battery-powered alarm on secured doors. The alarm, with approximately 100dB, will sound when an unauthorized exit occurs. The redesigned shape and smaller size of the EAX-500 makes it the ideal choice for quick and easy installations on emergency exit and restricted doors.
Mortise cylinder sold separately
Uses a standard 9 volt batteryEAX500- -
Von Duprin 050709 Old Style Dogging Assembly
The Von Duprin 050709 Dogging Assembly is used to update the Von Duprin 22, 33, 35, 98 and 99 device shipped before 1997. The dogging key on this assembly is 5/32", and you would want to use the longer version of our 88R60 dog key.
Von Duprin Part # 050709
Old Part # 050153G050709 -
Von Duprin 2227 Top Latch 050091
The Von Duprin 2227 Top Latch 050091 latch is used on devices shipped before October 1998, see related products for the new style latch if your device is newer. This is usually the problem if your bottom rod is dragging on the floor. Latch measures: 1-1/16" wide x 4-5/16" long (less latch bolt) x 1-7/8" projection at the highest point. Includes screws.
Von Duprin Part # 050091
G22VR10 -
Plunger Type Door Holder / Stop 583
The Plunger Type Door Holder / Stop 583 is constructed of solid cast brass, that is then plated to the desired finish. It measures 5-3/8" by 2-1/4" base with a 1-1/4" projection. The throw is 1-1/4". These are sometimes called pop-up or push down stops. This piece will ship with matching finish mounting screws.
GJ583- -
Bilco Barracuda DSI for In Swinging Doors
The Barracuda DSI is designed for In Swinging 36" Doors. The user places the deive on the floor and slides the metal plates under the door. Then pushing outward on the handles engages the plates to the exterior door jamb. Then you simply install the locking pin to barracade the door. The device is manufactured of heavy-duty steel that is then coated in a durable powder coat paint. It will work on just about any door and comes in 6 different versions depending on your jamb width. It is lightweight and comes with a storage mounting rack, along with all the the needed hardware for installation.
Barracuda Part Number
4-3/4" DSI-2
5-3/4" DSI-1
6-3/4" DSI-3
7-3/4" DSI-4
8-1/4" DSI-5
8-3/4" DIS-6DSI -
Door Pull Offset 1.25 Diameter M39
Solid offset door pull 1-1/4 inch diameter round stock. Handle has a 4 inch offset with a 2 inch clearance and 3 1/4" projection. Available in 12 or 18 inch centers.
Aluminum and Stainless Steel ship in 1 week, all other finishes ship in 2 weeks. Made in the USA.
GHEM39- -
5" Kickdown Door Stop FS452 | Ives FS452 Kick Down Door Holder
5" Kickdown Door Holder FS452
The H.B. Ives FS452 is another classic kick down door stop. It features a simple hold and release, activated with a touch of the foot, and is constructed of cast bronze or brass depending on the finish you are ordering. A simple stainless steel spring clip holds the stop in the up position. The non-marring rubber shoe is replaceable, and they have a corrugated bottom to prevent sliding on the floor and a secure grip. This stop is shipped with matching finish sheet metal screws. The 5" model is for door to floor clearances of 3" or less. The hole spacing is 19/32" by 1-47/64".
Ives Part # FS452
GJ452-5- -
Von Duprin 9927 Top Latch 050091
The Von Duprin 9927 Top Latch 050091 used on all the Von Duprin 9827 and 9927's. Replaces and updates all 9827 and 9927 bottom latches to the new style, if your device was installed before October 1998. If your device is newer then October 1998, then use the G050400. This is usually the problem if your bottom rod is dragging on the floor. Latch measures: 1-1/16" wide x 4-5/16" long (less latch bolt) x 1-7/8" projection at the highest point. Includes screws.
Von Duprin Part # 050091
G99VR10 -
Barn Door Pull Set
This Barn Door Pull Set features back to back handles that are thru-bolt mounted for a hassle-free setup. The Grip is 6 inches on centers and is constructed of 3/4 inch round stock, and projects out 2-3/8 inch. The flush pull face dimensions are 2-1/2 by 7 inches. The mortise size of the flush pull are 2 x 7/8 deep x 1/4 inch.
Aluminum and Stainless Steel ship in 1 week, all other finishes ship in 2 weeks. Made in the USA.
G2525A -
Von Duprin 55 Dog Screw-090053
The Von Duprin 55 Dog Screw-090053 is the newer version, meaning less then 25 years old. It measures 3/8" diameter by 1/2" long with 14 threads per inch. They did have an old style that was available up to a few years ago that had 15 threads per inch. If you have any old style I would recommend the D100 Panic Bar Retainer.
Von Duprin part # 090053
55R85 -
Cal Royal Products 800 Door Closer
The Cal Royal Products 800 Door Closer is one of there newer closers. The CR801 has a hole spacing of 3/4" x 12" and ships with either a full cover or slim cover. The full cover will hide both spindles, were as the slim cover will not. This closer is a Grade 1 closer, the heaviest rating possible. The cylinder has adjustable spring tension, closing, latching and back check speeds. It can be mounted on the push, pull or top jamb. The CR801 will work in place of the Norton 8000 and Yale 3000 series door closers, with no new drilling.
CR801S - SLIM COVER
CR801 - FULL COVER
Ships within 24 hours from California.
CR800- -
Corbin Russwin Regular Arm Parallel Bracket
The Corbin Russwin Regular Arm Parallel Bracket is the standard bracket shipped by them for the past 40 years. This replacement bracket will work on the older Corbin 100, 110, and 120's, and the Russwin 2800, 2810 and 2820's. Along with the DC3210 and DC6210 Door Closers. This bracket is required if your are going to use a parallel arm mounting, which is when you have the closer mounted on the door, on the push side of the door. Corbin Russwin part # 188F41-8.
2800PA- -
Von Duprin Strike 248L-4
The Von Duprin 248L-4 Strike is used as a Bottom Surface Mounted Strike on the 2227, 8827, 9927, and 9827 Surface Vertical Rod Panic Devices. The 248L-4 strike measures 9/16" wide by 2-1/2" high with a hole spacing of 1-7/8. The strike projects out 3/8". Ships with shim and mounting screws. Burnished steel construction.
Von Duprin Part # 248L-4
248L-4 -
Von Duprin 050814 Solenoid Kit for E996
The Von Duprin 050671 and 050814 solenoid have been discontinued. All of our stock is gone. Von Duprin has come out with a retrofit kit to update your E996 Lever to the M996 Lever. The kit changes out the solenoid for a mortorized version, more robust and uses less current. The newer version can be found by searching for M996.
This solenoid is used on the E996 Electrified Lever Trim. The Solenoid body measures 1-3/8” x 9/16” diameter, mounting bracket has a 3/4” on center hole spacing. The wiring harness has a two wire plug. We some times fine the number 991342 on the solenoid.
New for 2024 Von Duprin has come up with a Mechanical Electrified Conversion kit. This kit converts the EL Solenoid to a Mechanical Electrified Trim. More information can be found @ https://www.robertbrooke.com/von-duprin-m996l-retrofit-kit.html
Von Duprin Part # 050814
Von Duprin Part # 050671G050814 -
6" Kickdown Door Holder Grand Standard
6" Kickdown Door Holder Grand Standard
Frequently we are asked, “What is the heaviest duty kick down holder you sell?” The answer to that question is any of Grand Specialty door holders. These door stops are American made and simply the best out there. They have a shoe that is held in place by a screw, a rivet instead of a roll pin for the hinging mechanism, and a “wedge” instead of a piece of spring steel to hold up the leg. They are constructed of steel, and not cast like all of the other door holders made.
Another feature is their well constructed shoe can be adjusted down as the rubber wears making the holder last way longer than their competitors. Another use for them is as a door floor lock if mounted on the other side of the door. Once kicked down there's no entry possible unless you slide a flat item under the door to lift the door holder leg out of the way and push the door open. It can be opened from the inside as normal with your foot or hand. A very inexpensive security lock.
- No roll pin at pivot point
- Mallable with a pair of pliers
- Rubber shoe held on by a screw
- American Made
- Zinc plated steel
The bottom mounting screws holes would be 5-3/8" to the Floor when mounted.
Made by Grand Specialties 606z and 606br
606BR is not longer manufacturedGJ606 -
10" Kickdown Door Holder Grand Standard
10" Kickdown Door Holder Grand Standard
Frequently we are asked, “What is the heaviest duty kick down holder you sell?” The answer to that question is any of Grand Specialty door holders. These door stops are American made and simply the best out there. They have a shoe that is held in place by a screw, a rivet instead of a roll pin for the hinging mechanism, and a “wedge” instead of a piece of spring steel to hold up the leg. They are constructed of steel, and not cast like all of the other door holders made.
Another feature is their well constructed shoe can be adjusted down as the rubber wears making the holder last way longer than their competitors. Another use for them is as a door floor lock if mounted on the other side of the door. Once kicked down there's no entry possible unless you slide a flat item under the door to lift the door holder leg out of the way and push the door open. It can be opened from the inside as normal with your foot or hand. A very inexpensive security lock.
- No roll pin at pivot point
- Mallable with a pair of pliers
- Rubber shoe held on by a screw
- American Made
- Zinc plated steel
The bottom mounting screws holes would be 9-3/8" to the Floor when mounted.
Made by Grand Specialties 610z
GJ610 -
Von Duprin 8827 Chassis Tie Rod Pkg 050328
Von Duprin 8827 Chassis Tie Rod Pkg 050328
The 8827 Chassis Tie Rod Package is the rod that goes through the top and bottom latches. The Tie Rod is held in place by the Special Chassis Nut. The Tie Rod measures 1-3/8" long by 3/16" diameter.
Von Duprin Part # 050328
Old Von Duprin Part # 96761688VR195